Четырехместный робот-6 кг
Технические особенности
Умный и удобный
Стабильная производительность
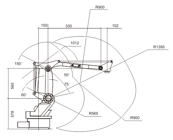
Высокая скорость бега
Высоко оптимизирован для общего использования.
заявка
Автоматическая штамповка и ковка;
Обработка материалов и паллетирование

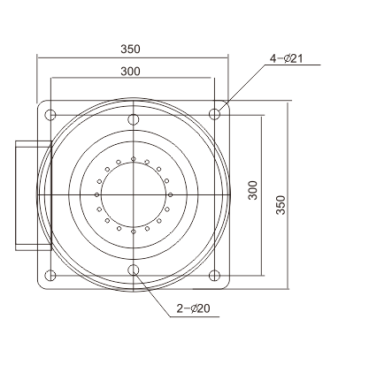
Размер рабочего места в рассрочку
Четырехместный робот-6 кг
Технические особенности
Умный и удобный
Стабильная производительность
Высокая скорость бега
Высоко оптимизирован для общего использования.
заявка
Автоматическая штамповка и ковка;
Обработка материалов и паллетирование

Размер рабочего места в рассрочку
Содержание пуста!